CCM4201S is designed based on independent Cortex-M4F core. It is distinguished by low power consumption, high performance, multifunction and high security level. It can be widely used in fingerprint recognition, micro-printers, and other fields.The chip’s typical operating frequency is 160MHz.

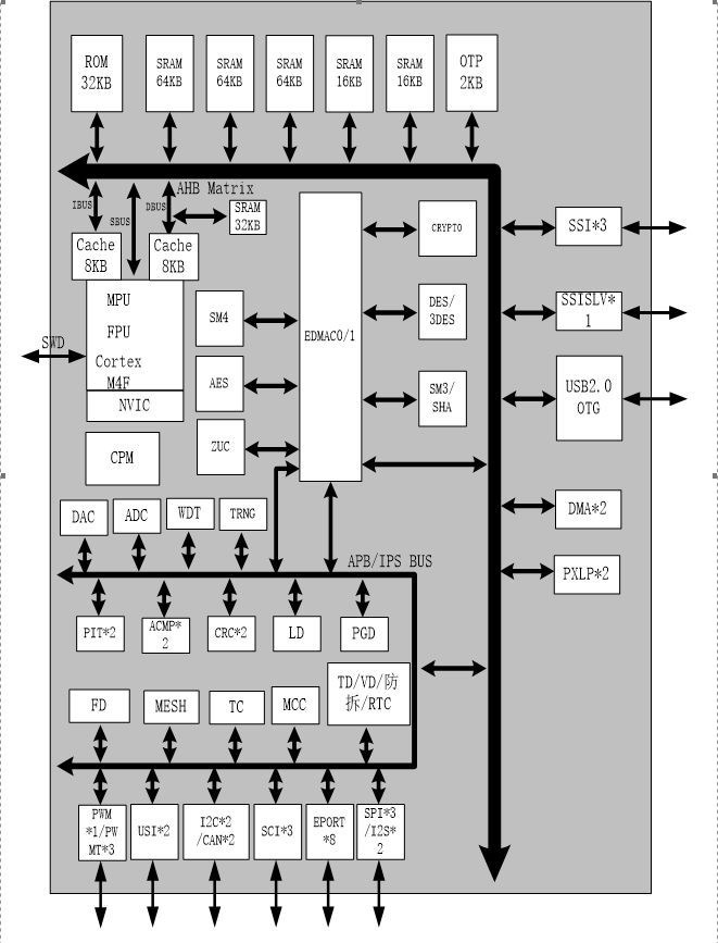
Block diagram of CCM4201S
Package Type
| Pin | Package type and pin assignment(mm) | ||
QFN32(4*4*0.75) | QFN88(10*10*0.75) | QFN64_B(8*8*0.75) | |
SPI(Multiplexing) | 2 | 3 | 3 |
I2C(Multiplexing) | 1 | 2 | 2 |
SSI(Multiplexing) | 1(Normal Mode) | 1 | 1 |
SSISLV(Multiplexing) | 0 | 1 | 1 |
SCI(Multiplexing) | 2 | 3 | 3 |
ISO7816(Multiplexing) | 2 | 2 | 2 |
USB(Multiplexing) | 1(Full Speed) | 1(Full Speed) | 1(Full Speed) |
PWM(Multiplexing) | 1(4 Channel) | 1(8 Channel) | 1(8 Channel) |
PWMT(Multiplexing) | 1(1 Channel) | 3(4 Channel) | 3(4 Channel) |
CAN(Multiplexing) | 2 | 2 | 2 |
EPORT(Multiplexing) | 23 | 49 | 52 |
I2S(Multiplexing) | 0 | 2 | 2 |
ADC(Multiplexing) | 1 | 6 | 9 |
ACMP(Multiplexing) | 1 | 2(8 Channel) | 2(8 Channel) |
SDIO(Tamper Resistance) | 0 | 8 | 0 |
MCC | 0 | 1 | 1 |
DAC | 0 | 1 | 1 |
? 32-bit high-performance Cortex-M4F
? Operating frequency:160MHz
? Powerful processing performance, coupled with fast interrupt response
? Enhanced system debugging capabilities, expanded breakpoints and tracing abilities
? Efficient processor core, system, and memory
? Built-in sleep mode for extremely low power consumption
? Built-in Memory Protection Unit (MPU) for robust platform security
? Compatible with IEEE754 single-precision FPU
? 256KB bytes of SRAM
? 32KB bytes of ROM
? 2KB bytes of OTP
? DMA/EDMA
? Timer (PIT32bit)
? Watchdog (WDT)
? Time counter (TC)
? Real-time clock (RTC)
? 1024bit RSA
? 2048bit RSA
? 256bit SM2
? DES/3DES supports ECB/CBC modes
? AES supports ECB/CBC/CFB/OFB/CTR modes
? SM4 supports ECB/CBC/CFB/OFB/CTR modes
? SM3
? SHA-0/ SHA-1/ SHA-224/ SHA-256/ SHA-384/ SHA-512
? Supporting 8-bit/16-bit/32-bit CRC operations
? Supporting DMAC interaction
? Supporting EDMAC interaction
? Supporting SPI interaction
? Supporting SPI interaction
? True random number generator, compliant with FIPS 140-2 standards and national commercial cryptography standards
? Voltage detection unit
? Light detection unit
? Power supply burr detection unit
? Metal shielding protection
? Temperature detection unit
? Frequency detection unit
? Clock and reset pulse filtering
? Optimizing wire routing for security
? Supporting 128 Byte NVSRAM
? Supporting 4 pairs of open-lid detection signals, dynamic/static detection mode configurable
? Supporting voltage detection
? Supporting temperature detection
? Supporting self-destruct and clear NVSRAM
? Unique serial number for each product
? Main power input voltage: 2.97V~3.63V
? Core clock frequency: 160MHz, normal operation at 40mA
? Two low-power modes:
- Low-power mode (power consumption of 100uA)
- Sleep mode (power consumption of 1uA)
Supporting internal power-on reset and external reset
? Level II of security chip for commercial crypto product certification
? Terminal security chip evaluation (compliant with PCI6.0)

? Fingerprint recognition
? Micro printer

? Complete development environment
? Rich driver libraries
? Complete application solutions